Présentation d'un nouveau de Haute marne !

:arrow: Avant de poster suivre les conseils :viewtopic.php?t=2114/consulter-avant-de-poster

Merci de compléter votre profil: région, véhicule...
Répondre
Avatar du membre
steph52
Membre
Messages : 153
Enregistré le : jeu. 20 août 2020 09:42
Localisation : Petit village de Haute marne

Re: Présentation d'un nouveau de Haute marne !

Message par steph52 »

J'ai bien regardé avec mon pied à coulisse et j'ai un diamètre de 36 mm
mais comme ce n'est pas démonté je me demandais si il n'y a pas un épaulement,
de toute façon par sécurité j'ai commandé les deux modèles en doubles lèvres
vu les prix tout à fait raisonnable et se ne sera pas perdu, j'en ai déjà une tripotée
et ça me dépanne souvent. :)
Avatar du membre
steph52
Membre
Messages : 153
Enregistré le : jeu. 20 août 2020 09:42
Localisation : Petit village de Haute marne

Re: Présentation d'un nouveau de Haute marne !

Message par steph52 »

Et j'ai oublié de vous dire que ce joint est le seul sur la boite à être mis à l'envers ;
http://dnepr.ural.free.fr/renovation_boite_ural.htm
Bon ça je suppose que vous le savez déjà mais celui qui est en place actuellement est mal monté ! :!:
Avatar du membre
westy64
Amicaliste
Messages : 1858
Enregistré le : dim. 23 déc. 2018 17:25
Localisation : en bas à gauche
Adhérant : 634

Re: Présentation d'un nouveau de Haute marne !

Message par westy64 »

steph52 a écrit :Et j'ai oublié de vous dire que ce joint est le seul sur la boite à être mis à l'envers ;
http://dnepr.ural.free.fr/renovation_boite_ural.htm
Bon ça je suppose que vous le savez déjà mais celui qui est en place actuellement est mal monté ! :!:
Je ne connaissais pas l'existence de ce tuto, très instructif.
Je vais pouvoir vérifier rapidement si mon joint spi de sortie de boite est monté à l'endroit ou à l'envers...
Cordialement
Jean
Faire en sorte que nos machines n'en soient qu'à la moitié de leur vie.
IMZ 2010 Tourist
IMZ 1957 M72
KMZ 1969 K750 (vendue)
Avatar du membre
Kreuzhof
Amicaliste
Messages : 5403
Enregistré le : ven. 4 nov. 2016 20:02
Localisation : Bavière/Dauphiné
Adhérant : 611

Re: Présentation d'un nouveau de Haute marne !

Message par Kreuzhof »

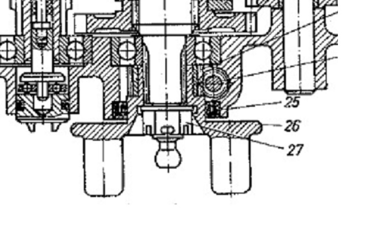
Il y'a sûrement une bonne raison pour cela mais sur le plan de coupe, le joint est "à l'endroit".
Spie sortie.jpg
Donc je l'ai monté "à l'endroit" sur ma boîte. :mrgreen:
MT12 de 1982 - Faut que ça tourne!
Rénovation d'un MT12 viewtopic.php?t=461
Avatar du membre
popov1100
Amicaliste
Messages : 737
Enregistré le : mar. 27 oct. 2015 20:34
Localisation : saint-omer
Adhérant : 647

Re: Présentation d'un nouveau de Haute marne !

Message par popov1100 »

steph52 a écrit :Et j'ai oublié de vous dire que ce joint est le seul sur la boite à être mis à l'envers ;
http://dnepr.ural.free.fr/renovation_boite_ural.htm
Bon ça je suppose que vous le savez déjà mais celui qui est en place actuellement est mal monté ! :!:
pourquoi monter le joint spi à l'envers ?

cela se fait uniquement sur les R100GS BMW à cause du paralever
(et du bras oscilant étanche)

sur nos truc, le flector est à l'air libre
Avatar du membre
steph52
Membre
Messages : 153
Enregistré le : jeu. 20 août 2020 09:42
Localisation : Petit village de Haute marne

Re: Présentation d'un nouveau de Haute marne !

Message par steph52 »

Ben là sur le plan on voit effectivement que le joint est posé
comme les autres donc du bon sens ce qui semble logique
pour résister à la pression du fluide. :!: :?:
Avatar du membre
Kreuzhof
Amicaliste
Messages : 5403
Enregistré le : ven. 4 nov. 2016 20:02
Localisation : Bavière/Dauphiné
Adhérant : 611

Re: Présentation d'un nouveau de Haute marne !

Message par Kreuzhof »

Pour mémoire (il est bien à l'endroit :lol: )

http://forum.dnepr-ural.fr/viewtopic.ph ... &start=230

Bonne lecture ;)
MT12 de 1982 - Faut que ça tourne!
Rénovation d'un MT12 viewtopic.php?t=461
Avatar du membre
steph52
Membre
Messages : 153
Enregistré le : jeu. 20 août 2020 09:42
Localisation : Petit village de Haute marne

Re: Pare cylindre pas cher !

Message par steph52 »

Merci. :roll:
Avatar du membre
jolijojo
Administrateur du site
Messages : 2570
Enregistré le : lun. 24 juil. 2017 15:16
Localisation : Ardèche
Adhérant : 591
Contact :

Re: Pare cylindre pas cher !

Message par jolijojo »

Beau travail ;)
Avatar du membre
Yan29
Membre
Messages : 78
Enregistré le : ven. 6 sept. 2019 12:08
Localisation : 29 sud

Re: Pare cylindre pas cher !

Message par Yan29 »

steph52 a écrit :Salut à toi coupecoupe,
je suis à 15 km au nord de Langres et à 6 de Montigny le roi , c'est donc tout près ! ;)
Je pense que l'on se verra bientôt. 8-)
Bon ben voilà j'en ai fabriqué un en tube de 32 mm
Le cintre n'est pas parfait mais bon c'est du maison. :mrgreen:
alors c'est du tube chauffage " 1 pouce " plus exactement 33.7 mm de diametre exterieur
pas évident pour faire ce motif proprement , risque de déformations
on peut éviter en remplissant le tube de sable tassé

il faut que j'en refasse un pour ma brele , le goujon de maintien du cache culbu dépasse , c'est dangereux pour les pietons
Oural 1995 , moteur 602 cm3
Répondre

Retourner vers « Présentations des membres et de leur(s) projet(s) »